Запасные части ЧТЗ Запасные части ЧТЗ
Нижний Новгород
Например:
Актобе
Алдан
или
Выбрать автоматически
Актобе
Алдан
Алматы
Алчевск
Архангельск
Астана
Астрахань
Атырау
Баку
Балашиха
Барнаул
Белгород
Бердянск
Бишкек
Владивосток
Владикавказ
Воркута
Воронеж
Горловка
Грозный
Донецк
Екатеринбург
Иваново
Ижевск
Иркутск
Казань
Калининград
Каменск-Уральский
Караганда
Каховка
Кемерово
Киров
Комсомольск-на-Амуре
Костанай
Краснодар
Красноярск
Красный луч
Ленск
Луганск
Магадан
Магнитогорск
Макеевка
Махачкала
Мелитополь
Минск
Мирный (Якутия)
Москва
Мурманск
Нерюнгри
Нижневартовск
Нижний Новгород
Нижний Тагил
Новая каховка
Новокузнецк
Новосибирск
Новый Уренгой
Норильск
Ноябрьск
Нур-Султан
Омск
Оренбург
Ош
Павлодар
Пермь
Петрозаводск
Петропавловск
Петропавловск-Камчатский
Псков
Ростов-на-Дону
Салехард
Самара
Санкт-Петербург
Саратов
Севастополь
Семей
Симферополь
Сочи
Ставрополь
Сургут
Сыктывкар
Тараз
Ташкент
Токмак
Томск
Тында
Тюмень
Ульяновск
Усинск
Усть-Каменогорск
Уфа
Хабаровск
Ханты-Мансийск
Херсон
Челябинск
Чита
Шымкент
Экибастуз
Энергодар
Южно-Сахалинск
Якутск
Ваш город
Нижний Новгород
Войти
Запасные части к тракторам на одном сайте
+7 (932) 303-00-10
+7 (932) 303-00-10
г. Нижний Новгород, Московское шоссе, д. 52
Пн-Пт: 9:30-18:30 Cб-Вс: Выходной
Отправить заявку


Ремонт механизма управления поворотом Т-170 Б-170 трактора в Нижнем Новгороде


/
с НДС 20%
Описание

Снятие механизма управления поворотом Т-170

Снимите передние панели пола кабины. Отсоедините провод от клеммы аккумуляторной батареи, выверните болты крепления основания сиденья водителя и снимите сиденье с основанием. Выверните болты крепления задней панели пола и снимите панель.

Установка механизма управления поворотом

Рис. 222. Установка механизма управления поворотом

Расшплинтуйте и выбейте пальцы 4 ( рис. 222 ), соединяющие тяги сервомеханизма бортовых фрикционов с рычагами механизма управления поворотом.

Расшплинтуйте и выбейте пальцы 2, соединяющие тяги блокировочного механизма коробки передач и промежуточные рычаги кронштейна 1.

Отсоедините пружины 5 от тяг управления тормозами. Расшплинтуйте и выбейте пальцы 3, соединяющие тяги управления тормозами с рычагами механизма управления поворотом. Отсоедините от правого рычага тягу педали тормоза. Отверните четыре болта крепления механизма управления поворотом и снимите его с опоры.

Разборка механизма управления поворотом Т-170

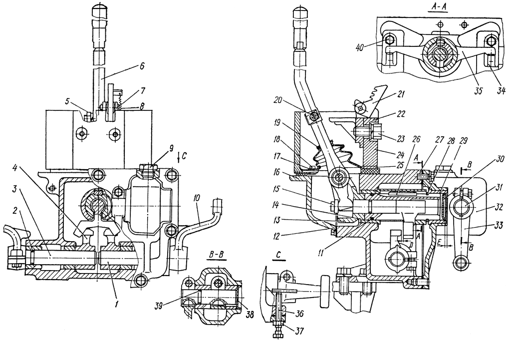
Механизм управления поворотом

Рис. 223. Механизм управления поворотом

Разборка корпуса. Выверните восемь болтов крепления крышки 32 ( рис. 223 ) с корпуса 27 и разъедините узлы над ванночкой для слива масла.

Слейте масло. Выверните два болта 23 и снимите кронштейн 22 с защелкой 21. Выверните четыре болта 18 и снимите кожух 24 и рамку 25.

Выверните четыре болта крепления кожуха 16 и снимите кожух. Расшплинтуйте палец, соединяющий рычаг 6 с проушиной полого валика 13, и выньте палец. Выньте рычаг с чехлом из проушины. Выверните болты крепления внутренних рычагов 4, выдвиньте валики 1 и 3 из внутренних втулок, совместив шпонку с пазами во втулках. Снимите шпонки и выведите валики из корпуса.

Снимите пружинное кольцо 28 с полого валика, а затем рычаг 35 и шпонку 26. Извлеките рычаг 15 из полого валика. Выньте полый валик из втулки 14 корпуса. Втулки 14 и 29 корпуса и крышки под полый валик 13 растачиваются в собранном узле, поэтому разукомплектовка корпуса и крышки не допускается.

Разборка крышки. Выверните из внутреннего - рычага 34 стяжной болт 40. Выверните из наружного рычага 33 стяжной болт, снимите рычаг и шпонку с валика 31. Выдвиньте валик из крышки до появления уплотнительного кольца 39. Снимите кольцо. Совместите шпонку внутреннего рычага с пазом во втулке. Выбейте валик из втулок крышки вместе с заглушкой 55 легкими ударами по торцу валика со стороны наружного рычага. Выньте внутренний рычаг из окна крышки. Аналогично снимите рычаги с другой стороны крышки. При необходимости выпрессуйте заглушку 30 из втулки 29.

Технические требования механизма управления поворотом Т-170

  1. Разукомплектовка корпуса и крышки не допускается.

  2. Неплоскостность привалочных поверхностей корпуса, крышки и кожуха допускается не более 0,16 мм.

  3. Зазор между втулками корпуса, крышки и наружной поверхностью полого валика 0,143...0,338 мм, допустимый зазор 0,6 мм, предельный зазор 1 мм. Нормальный натяг для запрессовки этих втулок в корпус и крышку 0,007...0,083 мм, допустимый натяг 0,005 мм, предельный зазор 0,1 мм.

  4. Зазор между внутренней поверхностью полого валика и наружной поверхностью рычага, размещенного в валике, 0,1...0,282 мм, допустимый зазор 0,7 мм, предельный зазор 1 мм.

  5. Зазор между втулками, запрессованными в крышку и корпус, и валиками рычагов управления 0,060...0,175 мм, допустимый зазор 0,5 мм, предельный зазор 0,8 мм. Натяг для запрессовки этих втулок 0,073...0,151 мм, допустимый натяг 0,01 мм, предельный зазор 0,05 мм.

  6. Зазор между отверстием проушины полого валика и поверхностью пальца рычага управления 0,020...0,113 мм, допустимый зазор 0,3 мм, предельный зазор 0,5 мм.

  7. Внутреннюю полость механизма после заправки маслом опрессовывайте воздухом под давлением 0,03...0,05 МПа (0,3...0,5 кгс/см²) в течение не менее 10 с. Утечка масла не допускается.

Сборка механизма управления поворотом Т-170

Сборка рычагов привода тормозов

Посадите на шпонку валика 5 наружный рычаг привода тормоза и закрепите его стяжным болтом. Установите в выточку валика уплотнительное кольцо 2 и заведите валик в отверстие корпуса 27 до упора.

На свободный конец валика посадите шпонку и закрепите внутренний рычаг 4 стяжным болтом рычага. Вращение валика 5 в опорных втулках корпуса должно быть свободным, без заеданий; Аналогично соберите валик 1 с рычагом 10 и введите в наружную втулку с другой стороны корпуса. Посадите шпонку на валик 1 и, совместив ее с пазами внутренней втулки и рычага, продвиньте валик в корпус. Закрепите внутренний рычаг стяжным болтом. Вверните регулировочные болты 36 с гайкой 37 в отверстия корпуса.

Сборка корпуса и рычага управления

Наденьте уплотнительное кольцо 11 на полый валик 13 и вставьте валик в отверстие корпуса. Установите в выточку рычага 15 уплотнительное кольцо и введите рычаг в отверстие полого валика 13.

Установите в паз полого валика шпонку 26 и посадите на валик рычаг 35. Закрепите рычаг дружинным кольцом 28, установив его в выточку полого валика.

Наденьте на рычаг управления 6 защитный чехол 19 и закрепите в рычаге зуб 20 защелки гайкой 5 с пружинной шайбой.

Заведите конец рычага управления в проушину полого валика и установите вилкой в выточку рычага 15. Соедините пальцем проушину полого валика 13 с рычагом управления. Палец зашплинтуйте двумя шплинтами.

Сборка крышки

Запрессуйте заглушку 30, смазанную «Герметиком» во втулку 29 крышки 32 на размер Е от торца втулки до торца заглушки (3 ±0,3) мм.

Посадите в шпоночный паз валика 31 шпонку под, внутренний рычаг 34 управления сервомеханизмом бортовых фрикционов.

Установите внутренний рычаг 34 в окно крышки и введите валик во втулки крышки со стороны, закрываемой заглушкой. Поворотом валика совместите шпонку с торцовым пазом внутренней втулки. Продвиньте валик со шпонкой по пазу до выхода наружу кольцевой канавки валика.

Установите в кольцевую канавку валика уплотнительное кольцо 39, а в паз валика — вторую шпонку. Сдвиньте валик в обратном направлении до совмещения его торца с торцом втулки крышки и закрепите внутренний рычаг 34 стяжным болтом 40.

Установите на свободный конец валика наружный рычаг 33 управления сервомеханизмом и закрепите его стяжным болтом. Запрессуйте заглушку 55, смазанную «Герметиком» в отверстие крышки заподлицо с поверхностью крышки. Аналогично соберите рычаги с другой стороны крышки.

Общая сборка МУП

Очистите привалочные поверхности крышки 32, кожуха 16 и корпуса 27 механизма. Крышка и корпус механизма должны быть из одного комплекта. Смажьте прокладку с обеих сторон лаком «Герметик», и установите ее на штифты корпуса. Установите на штифты корпуса крышку и закрепите ее восемью болтами с пружинными шайбами.

Смажьте прокладку 12 с обеих сторон лаком «Герметик» и вместе с кожухом 16 установите на корпус. Закрепите кожух болтами с пружинными шайбами. Установите рамку 25 и кожух 24 на чехол 19 и закрепите четырьмя болтами 18 с гладкими шайбами 17.

Вставьте защелку 21 рычага управления в кронштейн 22. Соедините пальцем, 7 защелку с кронштейном и зашплинтуйте палец. Закрепите кронштейн 22 на кожухе двумя болтами 23 с пружинными и плоскими шайбами. Соедините пружиной 8 защелку с кронштейном.

После сборки отрегулируйте надежную фиксацию рычага управления защелкой 21.

Залейте в механизм управления поворотом через пробку 9 трансмиссионное масло ТСп-10 ЭФО —зимой, летом — ТЭп-15 в количестве 0,9...1,1 литра.

Регулирование механизма управления поворотом Т-170

Регулирование заключается в установлении одинакового зазора D между внутренними рычагами 4 и 15.

Переведите рычаг 6 управления поворотом в переднее крайнее положение. Выверните регулировочный болт 35. Поверните наружный рычаг 10 управления тормозом назад до упора внутреннего рычага 4 в рычаг 15. Заверните регулировочный болт 36 до упора в. поверхность наружного рычага 10, затем доверните его на один оборот и законтрите гайкой 37.

Аналогично выполните регулирование зазора с другой стороны механизма управления поворотом.

Установка МУП Т-170

Установите механизм управления поворотом на опору, закрепленную на коробке передач, и закрепите четырьмя болтами с дружинными шайбами. Наденьте на корпус механизма резиновую уплотнительную прокладку.

Соедините Пальцами 3 ( см. рис. 222 ) тяги управления тормозами с рычагами механизма управления поворотом. Зашплинтуйте пальцы. Подсоедините дополнительно к правому рычагу тягу педали тормоза. Подсоедините пружины 5 к тягам.

Соедините пальцами 2 тяги блокировочного механизма коробки передач и промежуточные рычаги кронштейна 1. Пальцы зашплинтуйте.

Соедините пальцами 4 тяги сервомеханизма -бортовых фрикционов и рычаги механизма управления поворотом. Зашплинтуйте пальцы.

Установите в кабине заднюю панель пола, заведите в отверстие ящика аккумуляторных батарей провод и закрепите панель болтами с пружинными шайбами. Подсоедините провода к клеммам аккумуляторных батарей. Установите на панель основание сиденья вместе с сиденьем и закрепите его болтами к панели.

Установите передние панели пола-в кабину и закрепите болтами с пружинными шайбами.

Ремонт механизма управления поворотом