Запасные части ЧТЗ Запасные части ЧТЗ
Нижний Новгород
Например:
Актобе
Алдан
или
Выбрать автоматически
Актобе
Алдан
Алматы
Алчевск
Архангельск
Астана
Астрахань
Атырау
Баку
Балашиха
Барнаул
Белгород
Бердянск
Бишкек
Владивосток
Владикавказ
Воркута
Воронеж
Горловка
Грозный
Донецк
Екатеринбург
Иваново
Ижевск
Иркутск
Казань
Калининград
Каменск-Уральский
Караганда
Каховка
Кемерово
Киров
Комсомольск-на-Амуре
Костанай
Краснодар
Красноярск
Красный луч
Ленск
Луганск
Магадан
Магнитогорск
Макеевка
Махачкала
Мелитополь
Минск
Мирный (Якутия)
Москва
Мурманск
Нерюнгри
Нижневартовск
Нижний Новгород
Нижний Тагил
Новая каховка
Новокузнецк
Новосибирск
Новый Уренгой
Норильск
Ноябрьск
Нур-Султан
Омск
Оренбург
Ош
Павлодар
Пермь
Петрозаводск
Петропавловск
Петропавловск-Камчатский
Псков
Ростов-на-Дону
Салехард
Самара
Санкт-Петербург
Саратов
Севастополь
Семей
Симферополь
Сочи
Ставрополь
Сургут
Сыктывкар
Тараз
Ташкент
Токмак
Томск
Тында
Тюмень
Ульяновск
Усинск
Усть-Каменогорск
Уфа
Хабаровск
Ханты-Мансийск
Херсон
Челябинск
Чита
Шымкент
Экибастуз
Энергодар
Южно-Сахалинск
Якутск
Ваш город
Нижний Новгород
Войти
Запасные части к тракторам на одном сайте
+7 (932) 303-00-10
+7 (932) 303-00-10
г. Нижний Новгород, Московское шоссе, д. 52
Пн-Пт: 9:30-18:30 Cб-Вс: Выходной
Отправить заявку


Маховик П-23У трактора в Нижнем Новгороде


/
с НДС 20%
Описание

Снятие маховика ПД П-23У

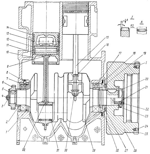
Кривошипно-шатунный механизм пускового двигателя
Рис. 130. Кривошипно-шатунный механизм пускового двигателя

Снимите пусковой двигатель с дизеля. Снимите с двигателя муфту сцепления с редуктором. Отогните стопорную шайбу 23 (рис. 130) с граней затяжной гайки 20. Отверните гайку торцовым ключом, придерживая маховик от проворачивания. Спрессуйте маховик 26 с коленчатого вала. При необходимости замены или ремонта венца 25 маховика высверлите два винта 24 крепления.

Технические требования на маховик ПД

  1. Посадочную поверхность маховика проверяйте на краску калибром или конусным концом выверенного коленчатого вала. Следы краски должны располагаться равномерно и составлять не менее 50 % всей поверхности отверстия.
  2. Средняя длина общей нормали наружного венца равна 58,15 мм, допустимая длина 57,10 мм.
  3. Средняя длина общей нормали внутреннего венца равна 51,95 мм, допустимая длина 52,9 мм.
  4. Зазор между шпоночным пазом маховика и шпонкой 0,04...0,145 мм, допустимый зазор 0,18 мм, предельный зазор 0,3 мм.
  5. Натяг между поверхностью венца и маховиком 0,05...0,23 мм, допустимый натяг не менее 0,03 мм.
  6. При износе наружного венца обработайте неизношенные торцы зубьев венца, как показано на рис. 137, и напрессуйте венец на маховик другой стороной.

Установка маховика ПД П-23У

Напрессуйте на маховик 26 наружный венец 25 и выполните по линии их сопряжения два диаметрально противоположных резьбовых отверстия на глубину не менее 12 мм диаметром М8.

Заверните винты 24 в резьбовые отверстия маховика и венца. Раскерните винты с двух сторон.

Запрессуйте в шпоночный паз коленчатого вала шпонку. Напрессуйте на шейку вала маховик, наденьте стопорную шайбу 23 и наверните затяжную гайку 20. Застопорите гайку, отогнув концы шайбы на грань гайки. Момент затяжки гайки 276... 324 Н/м (28 ... 33 кгс/м).

При затяжке гайки придерживайте маховик от проворачивания.

Установите на блок-картер двигателя муфту сцепления с редуктором. Установите двигатель на дизель.

Маховик