Запасные части ЧТЗ Запасные части ЧТЗ
Нижний Новгород
Например:
Актобе
Алдан
или
Выбрать автоматически
Актобе
Алдан
Алматы
Алчевск
Архангельск
Астана
Астрахань
Атырау
Баку
Балашиха
Барнаул
Белгород
Бердянск
Бишкек
Владивосток
Владикавказ
Воркута
Воронеж
Горловка
Грозный
Донецк
Екатеринбург
Иваново
Ижевск
Иркутск
Казань
Калининград
Каменск-Уральский
Караганда
Каховка
Кемерово
Киров
Комсомольск-на-Амуре
Костанай
Краснодар
Красноярск
Красный луч
Ленск
Луганск
Магадан
Магнитогорск
Макеевка
Махачкала
Мелитополь
Минск
Мирный (Якутия)
Москва
Мурманск
Нерюнгри
Нижневартовск
Нижний Новгород
Нижний Тагил
Новая каховка
Новокузнецк
Новосибирск
Новый Уренгой
Норильск
Ноябрьск
Нур-Султан
Омск
Оренбург
Ош
Павлодар
Пермь
Петрозаводск
Петропавловск
Петропавловск-Камчатский
Псков
Ростов-на-Дону
Салехард
Самара
Санкт-Петербург
Саратов
Севастополь
Семей
Симферополь
Сочи
Ставрополь
Сургут
Сыктывкар
Тараз
Ташкент
Токмак
Томск
Тында
Тюмень
Ульяновск
Усинск
Усть-Каменогорск
Уфа
Хабаровск
Ханты-Мансийск
Херсон
Челябинск
Чита
Шымкент
Экибастуз
Энергодар
Южно-Сахалинск
Якутск
Ваш город
Нижний Новгород
Войти
Запасные части к тракторам на одном сайте
+7 (932) 303-00-10
+7 (932) 303-00-10
г. Нижний Новгород, Московское шоссе, д. 52
Пн-Пт: 9:30-18:30 Cб-Вс: Выходной
Отправить заявку


Механизм натяжения ремней Т-170 Б-170 трактора в Нижнем Новгороде


/
с НДС 20%
Описание

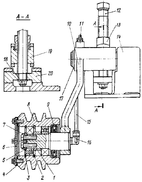
Снятие и разборка механизма натяжения ремней вентилятора Т-170

Механизм натяжения вентилятора
Рис. 12. Механизм натяжения вентилятора

Снятие механизма натяжения ремней

Отверните четыре болта и снимите натяжной ролик в сборе с кронштейном с дизеля.

Разборка механизма натяжения ремней

Отверните контргайку 13 (рис. 12) на несколько оборотов, расшплинтуйте и отвинтите корончатую Гайку 18 с регулировочного винта 12. Выверните регулировочный винт 12 из муфты 19 и отвинтите, с него контргайку 13. Выньте муфту из отверстия короткого плеча рычага. Выверните масленку 11. Снимите трубку 15, отсоедините ее от колен 16 на рычаге и оси. Выверните из рычага и оси два колена 16. Снимите стопорное кольцо 17 с оси кронштейна и рычаг вместе с натяжным роликом. Отверните болты и снимите крышку 6 с прокладкой 4, отогните концы стопорной пластины 7, выверните болты крепления упорной шайбы 5 и снимите ее. Выпрессуйте ось с рычагом 10 из подшипников. Выньте из выточки шкива 8 кольцо 3. Выпрессуйте из шкива передний подшипник. Выньте из выточки шкива второе кольцо 3. Выпрессуйте второй подшипник вместе с сальником 9. Выньте из кронштейна 14 ось 20.

Сборка и установка механизма натяжения ремней Т-170

Наденьте на ось рычага 10 (рис. 12) сальник 9 рабочей кромкой в сторону рычага, пользуясь конусной оправкой. Посадите подшипник 2 до упора в бурт оси.

Смажьте шарикоподшипник солидолом и за-прессуйте ось с подшипником и сальником в корпус ролика 8. Наденьте на ось распорную втулку 1. Заполните полость ролика солидолом. Установите в выточку ролика стопорное кольцо 3. Затем посадите в ролик второй подшипник и установите второе стопорное кольцо 3. Закрепите упорную шайбу 5 на оси болтами со стопорной пластиной 7, отогнув концы пластины на грани Золовок болтов. Закрепите крышку 6 с прокладкой 4 болтами с пружинными шайбами.

Вверните в рычаг и ось рычага два колена 16 и соедините их трубкой 15. Вверните в рычаг масленку 11. Вставьте в кронштейн 14 ось 20.

Вставьте в отверстие короткого плеча рычага 10 муфту 19. Наверните на регулировочный винт 12 контргайку 13 и заверните винт в муфту так, чтобы конец винта вошел в отверстие оси 20. Наденьте на резьбовой конец винта шайбу, наверните корончатую гайку 18 и зашплинтуйте ее шплинтом. Наденьте рычаг в сборе с роликом на ось кронштейна 14 и поставьте стопорное кольцо 17. Закрепите натяжной ролик в сборе с кронштейном на кожухе шестерен распределения четырьмя болтами с пружинными шайбами. Продольный люфт натяжного ролика допускается не более 1 мм.

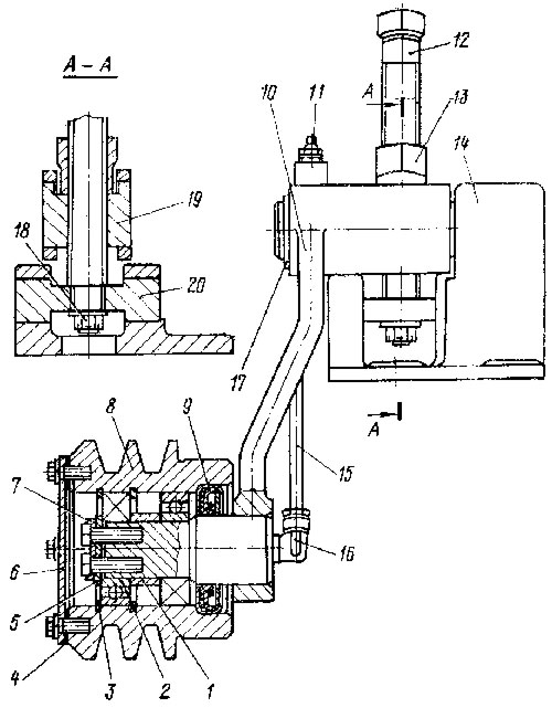
Снятие, установка и регулирование натяжения ремней вентилятора и генератора Т-170

Не проверяйте и не регулируйте ремни при работающем дизеле. Соблюдайте особую осторожность вблизи лопастей вентилятора. Не приближайте руки или другие части тела к вращающимся лопастям или ремням вентилятора.

При износе или обрыве одного из ремней вентилятора заменяйте только оба ремня. Приводные ремни вентилятора должны быть одинаковой длины.

Регулирование натяжения ремней вентилятора и генератора
Рис. 13. Регулирование натяжения ремней вентилятора и генератора

Поднимите переднюю крышку капота и поставьте на упор. Отверните болты крепления и опустите защитный поддон дизеля. Ослабьте натяжение ремней вентилятора винтом 9 (рис. 13). Снимите оба ремня 1 со шкива 11 коленчатого вала и шкива 10 вентилятора. Вытяните передний ремень между лопастью вентилятора и его кожухом в месте наибольшего зазора. Поворачивая за лопасти крестовину, вытяните передний ремень между остальными лопастями и кожухом. Снимите второй ремень. Ослабьте болт 4 крепления генератора на кронштейне, болты 6 и 3 крепления планки 7 и снимите ремень 8 со шкивов и через лопасти крестовины вентилятора. Ремни генератора и вентилятора устанавливайте в обратной последовательности. Натяните ремни вентилятора роликом 2, вворачивая винт 9. Натяжение ремней вентилятора должно быть такое, чтобы при нажиме в середину ремня с усилием 40 Н (4 кгс) прогиб В был 13... 20 мм (для новых ремней 13... 14 мм). После регулирования затяните контргайку на винте 9. Натяните ремень генератора поворотом генератора 5 на кронштейне. Прогиб А ремня генератора должен быть в пределах 11... 17 мм (для новых ремней 11 ... 12 мм) при нажатии на ремень усилием 40 Н (4 кгс). Затяните болты 6, 3 и гайку болта 4 крепления генератора.

Механизм натяжения ремней