Запасные части ЧТЗ Запасные части ЧТЗ
Нижний Новгород
Например:
Актобе
Алдан
или
Выбрать автоматически
Актобе
Алдан
Алматы
Алчевск
Архангельск
Астана
Астрахань
Атырау
Баку
Балашиха
Барнаул
Белгород
Бердянск
Бишкек
Владивосток
Владикавказ
Воркута
Воронеж
Горловка
Грозный
Донецк
Екатеринбург
Иваново
Ижевск
Иркутск
Казань
Калининград
Каменск-Уральский
Караганда
Каховка
Кемерово
Киров
Комсомольск-на-Амуре
Костанай
Краснодар
Красноярск
Красный луч
Ленск
Луганск
Магадан
Магнитогорск
Макеевка
Махачкала
Мелитополь
Минск
Мирный (Якутия)
Москва
Мурманск
Нерюнгри
Нижневартовск
Нижний Новгород
Нижний Тагил
Новая каховка
Новокузнецк
Новосибирск
Новый Уренгой
Норильск
Ноябрьск
Нур-Султан
Омск
Оренбург
Ош
Павлодар
Пермь
Петрозаводск
Петропавловск
Петропавловск-Камчатский
Псков
Ростов-на-Дону
Салехард
Самара
Санкт-Петербург
Саратов
Севастополь
Семей
Симферополь
Сочи
Ставрополь
Сургут
Сыктывкар
Тараз
Ташкент
Токмак
Томск
Тында
Тюмень
Ульяновск
Усинск
Усть-Каменогорск
Уфа
Хабаровск
Ханты-Мансийск
Херсон
Челябинск
Чита
Шымкент
Экибастуз
Энергодар
Южно-Сахалинск
Якутск
Ваш город
Нижний Новгород
Войти
Запасные части к тракторам на одном сайте
+7 (932) 303-00-10
+7 (932) 303-00-10
г. Нижний Новгород, Московское шоссе, д. 52
Пн-Пт: 9:30-18:30 Cб-Вс: Выходной
Отправить заявку


Акселератор Т-170 Б-170 трактора в Нижнем Новгороде


/
с НДС 20%
Описание

Снятие акселератора

Установка акселератора
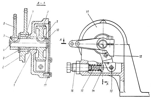
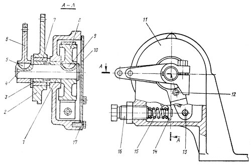
Рис. 37. Установка акселератора

Отсоедините от проушины 3 (рис. 37) акселератора пружину 1 регулятора. Расшплинтуйте и выбейте палец, соединяющий тягу 2 регулятора с двуплечим рычагом 9 акселератора 8. Расшплинтуйте и выбейте пальцы, соединяющие рычаги 9 и 10 с тягами деселератора и рукояткой 16 привода акселератора. Выверните два болта 7 крепления акселератора к кожуху маховика и снимите акселератор.

Разборка акселератора

Акселератор
Рис. 38. Акселератор

Выверните стяжной болт из рычага 6 (рис. 38). Спрессуйте рычаг с оси 4 акселератора и выбейте шпонку 5 из канавки оси. Снимите шайбу 3 с оси акселератора. Снимите со втулки корпуса акселератора рычаг 2. Выверните болты крепления крышки 10 и снимите крышку с прокладкой 17. Ослабьте контргайку, выверните из корпуса акселератора регулировочный винт 16 с гайкой и выньте пружину 15 из корпуса.

Снимите тормозную ленту 14 с барабана 8. Выньте из корпуса акселератора ось 4 с барабаном. Выпрессуйте ось барабана и выбейте шпонку 9 из канавки оси. Выпрессуйте при необходимости из корпуса акселератора втулку и штифт 13. Из рычага 2 выпрессуйте втулку 7.

Сборка акселератора

Все трущиеся поверхности, кроме наружной поверхности барабана, смажьте перед сборкой солидолом. Запрессуйте в корпус акселератора 11 втулку 1, штифт 13 — в корпус акселератора на размер (15±1) мм. Запрессуйте в рычаг 2 штифт 12, выдерживая размер от торца штифта до плоскости рычага (18±1) мм. Установите в шпоночный паз оси 4 шпонку 9, запрессуйте ось в барабан 8. Введите ось с барабаном в корпус 11 до упора барабана во втулку 1. Установите рычаг 2 на втулку корпуса до упора в бурт втулки. Наденьте шайбу 3 на ось барабана. Запрессуйте в шпоночный паз оси барабана шпонку 5. Напрессуйте на ось барабана рычаг 6 и закрепите его стяжным болтом. Наденьте тормозную ленту 14 на барабан и на штифт 13 корпуса. Установите пружину 15 в корпус акселератора, надев ее на палец тормозной ленты и вверните регулировочный винт 16 до упора в торец пружины 15. Установите крышку 10 с прокладкой 17 на корпус акселератора и закрепите крышку болтами с пружинными шайбами. Закрепите на корпусе двумя болтами 4 (см. рис. 37). проушину 3 крепления пружины регулятора.

Установка акселератора

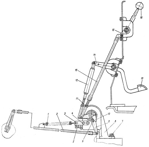
Установите акселератор 8 на кожух маховика и закрепите его двумя болтами 7 с пружинными шайбами. Подсоедините с помощью пальцев к двуплечему рычагу 9 тяги привода регулятора и деселератора; к рычагу 10 тягу 13 рукоятки акселератора. Зацепите пружину 1 регулятора за проушину 3, закрепленную на корпусе акселератора.

Регулирование тяг

Снимите тяги 12 я 13 с трактора. Отцепите пружину 1 от акселератора. Подайте тягу 2 регулятора до упора в пружину ограничения минимальных частот вращения вала дизеля в регуляторе топливного насоса, опустите педаль 17 деселератора вниз до упора и подсоедините тягу 12 деселератора к рычагу 14 педали деселератора и двуплечему рычагу 9 акселератора, регулируя длину тяги. Подсоедините пружину 1 к проушине 3 акселератора. Педаль деселератора после снятия нагрузки должна возвращаться в исходное положение. Установите рукоятку 16 акселе-ратора в верхнее положение до упора. Подсоедините к рычагу 10 акселератора тягу 13 и переместите тягу вверх до упора рычага 10 в штифт 6 на двуплечем рычаге акселератора. Совместите отверстия вилки тяги 13 акселератора и рычага 15 рукоятки акселератора и, удлинив тягу акселератора на 5...7 мм, законтрите ее гайкой 11 и подсоедините к рычагу 15. Этим достигается зазор между рычагом 10 и штифтом 6. Отрегулируйте регулировочным винтом 5 на корпусе акселератора натяжение тормозной ленты акселератора и законтрите винт гайкой. Тормозная лента должна быть затянута винтом так, чтобы рукоятка акселератора самопроизвольно не перемещалась от усилия натяжения пружины регулятора, а перемещение рукоятки акселератора было свободным.

Акселератор